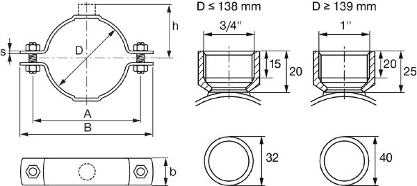
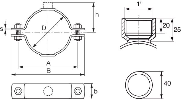
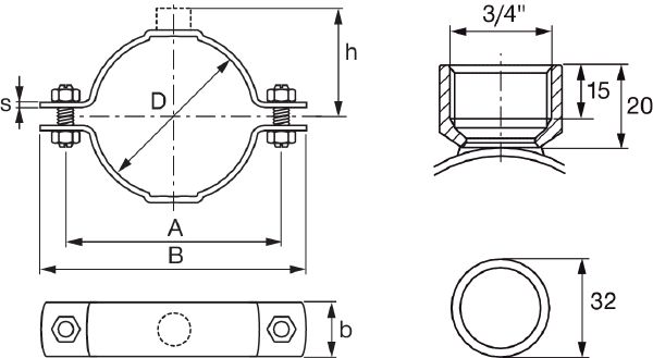
MP-MX NEW MP-MX NEW Clamping range - D: 274-282 mm Thread - M: 1 in Distance centre pipe to top - h: 167 mm Features & Applications Features Solid connection boss, welded all round Strong clamping bolts for high loads Suitable for the installation of pipes under dynamic loading if used with vibration damping components Applications Heavy-duty installations up to 508 mm Mechanical installations Process and control lines Heavy-duty pipe runs Installation of industrial pipework
Technical Data
-
Clamping range - D
-
274 - 282 mm
-
Thread - M
-
1 in
-
Distance centre pipe to top - h
-
167 mm
-
Maximum load - F
-
11000 N
-
Material composition
-
DD11 - DIN EN 10111
-
Surface finish
-
Galvanized
-
Clamping screw
-
M16
-
Tightening torque
-
20 Nm
-
Cross section thickness - s
-
4 mm
-
Cross section width - b
-
40 mm
-
Width - B
-
372 mm