您好 ,  欢迎来到59598晟江工业品 登录后可利用更多便捷功能 会员中心  | 新会员注册 [退出]
  • 已选总价:¥0.00
  • 已选数量:0
所有费用均已包含增值税,不含运费。运费详情请参阅运费指导书。
产品详情与编号
序号 产品编号 名称 Packaging unit Height - H Thread - M 售价 订购数量
  全部
全部
全部
全部
全部
   
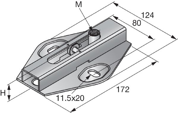
1.0 243550 Roll connector MRG 2,0 M10/12 Packaging unit 5 pc Height - H 33 mm Thread - M M10. M12 ¥392.50
注:本公司对上述参数保有最终解释权,如若变动,恕不通知。
MRG 2,0 NEW MRG 2,0 NEW Thread - M: M10, M12 Height - H: 33 mm Maximum load - F: 2 kN Features & Applications Features Can be used for suspended or standing installations Matched loading classes suitable for Hilti pipe rings Temperature-resistant up to 300° C as no there are no plastic parts Stiffened base plate suitable for MQ channel installation system Load classes matched to Hilti pipe rings

Technical Data

MRG2_Primary_00243550_APC_fv600
Thread - M
M10, M12
Height - H
33 mm
Maximum load - F
2 kN
Material composition
S235JRG - DIN EN 10025
Surface finish
Galvanized
Temperature resistance
-40 - 300 °C
Base material type
Concrete
Max. displacement
80 mm
Coefficient of sliding friction
0.08
Weight
0.68 kg
Copyright ©2012 SME Corporation All Rights Reserved
ICP备案证书号:沪ICP备10013497号-1··上海工商
ɽҵƷ|ٽͷ|ҵ|ܳ|DZ